通过按钮互锁的正反转控制电路动作原理与接触器互锁的电机正反转控制电路原理基本相似,其控制电路如下图所示。
由于采用了复合按钮,当按下反转按钮SB3时,使接在正转控制电路中的SB2常闭触头先断开,正转接触器KM1线圈断电,KM1主触头断开,电动机M断电;接着反转按钮SB2的常开触头闭合,使反转接触器KM2的线圈得电,KM2主触头闭合,电动机反转。这种既保证了正反转接触器KMI和KM2不会同时接通电源,又可不按停止按钮SB1而直接按反转按钮SB2进行反转启动。同理,由反转按钮转换成正转运行的情况,也只要直接按正转按钮即可。

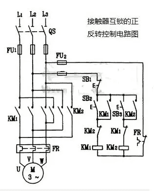
这种电机正反转电路的优点是操作方便,缺点是容易产生短路故障。如正转接触器主触头发生故障,熔焊分断不开时,若按反转按钮进行切换,则会产生短路故障,因此单用按钮互锁的控制电路还不太安全可靠。接触器互锁的正反转控制电路生产机械往往要求运行部件能向正反两个方向运行,这就要求电动可以正反转。若将接至电动机三相电源进线中的任意两相对调接线,即可达到反转的目的。
下图所示的控制线路中采用了两个接触器,即正转用接触器KM1和反转用接触器KM2。
当接触器KM1的三对主触头接通时,三相电源的相序按Ll-L2-L3接入电动机。当接触器KM2的三对主触头接通时,三相电源的相序按L1-la-LI接入电动机,电动机就向相反方向转动。电路要求接触器KMI和接触器KM2不能同时接通电源,否则它们的主触头将同时闭合,造成、两相电源短路,为此在KM1和KM2线圈各自支路中相互串联对方的一副动断辅助触头,以保证接触器KM1和KM2不会同时接通电源,KM1和KM2这两副动断辅助触头在线路中所起的作用称为互锁或联锁作用,这两副动断触头就叫互锁触头。
接触器互锁的电机正反转控制电路动作原理与过程是:先将主回路QS合闸。

正转控制:按SB2→KM1线圈通电→KM1自锁触头闭合、KM1互锁触头断开、KM1主触头闭合→电动机M运转;反转控制:先按SB1→KM1线圈断电→KM1自锁触头断开、KM1互锁触头闭合、KM1主触头断开→电动机M断电→按下SB3→KM2线圈通电→KM2自锁触头闭合、KM2互锁触头断开、KM2主触头闭合→电动机M反转。这种电动机正反转控制接线电路的缺点是操作不方便,因为要改变电动机的转向,必须先按停止按钮SB1,再按反转按钮SB3才能使电机反转。
本文为原创文章,作者:北极星,如若转载,请通知我们,也请注明出处:https://dldui.com/ele-technology/circuit-diagram-explanation.html

微信扫一扫
支付宝扫一扫



评论列表(1条)